万达大消息!600亿重组案生变

万达再次传出大消息!

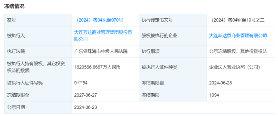
近日消息,大连万达商管(大连万达商业管理集团股份有限公司)所持有的大连新达盟(大连新达盟商业管理有限公司)全部股权再次被冻结。冻结期限至2027年6月27日。

万达600亿重组案生变

去年12月,太盟投资集团(PAG)与大连万达商管集团共同宣布签署新投资协议,前者将联合其他投资者,在2021年的投资赎回期满时,经大连万达商管集团赎回后,对珠海万达商管再投资。

随后的今年1月,大连新达盟成立,注册资本约162.07亿元,法定代表人为肖广瑞,由大连万达商管及旗下大连万裕企业管理有限公司分别持股99.9938%和0.0062%,前者是后者的全资子公司。

2024年3月底,大连万达商管与太盟投资集团、阿布扎比投资局、穆巴达拉投资公司、中信资本、ARES等投资方正式签约,资方联合向大连新达盟投资约600亿元。

协议落地,大连万达商管的对赌危机是解决了,但代价是,大连万达商管对珠海万达商管的持股比例从78.83%降至40%。这意味着,大连万达商管仍是珠海万达商管的单一大股东,却失去了对珠海万达商管的绝对控制权。

太盟投资集团的加入,给万达系注入了信心。其是一家专注于亚洲的私市股权投资公司,业务板块包括私市股权、不动产及信贷与市场的投资。该公司为全球近300家机构基金投资者管理着超过550亿美元的资产。太盟的幕后大佬是单伟健。

据了解,大连新达盟旗下子公司为珠海万达商管,后者正是万达广场的核心运营平台。不过,从目前情况来看,自今年1月成立以来,珠海万达商管股权仍迟迟未注入大连新达盟旗下。

股权信息显示,大连新达盟旗下对外投资仅两家企业,分别为珠海万跃企业管理有限公司、大连万太企业管理有限公司,两家企业也均成立于今年1月份,注册资本均为1000万,都有大连新达盟100%持股。

目前,珠海万达商管(珠海万达商业管理集团股份有限公司)仍在大连万达商管旗下,由后者持股70.15%,非发起人持股29.84%,银川万达广场商业发展有限公司持股0.01%。

2023年,大连万达商管的总资产6089.27亿元,总负债3041.49亿元。而珠海万达商管的总资产233.2亿元,净资产51.2亿元,期内营业收入296.01亿元。

大连新达盟迟迟未获资产注入,是否意味着太盟投资集团与万达的合作仍有变数?

还没持有实质资产,大连新达盟股权却屡次遭冻结。除了最新这次冻结,根据天眼查,在大连新达盟成立仅两个月后,大连万达商管所持新达盟162亿股权被冻结。

乐居财经此前查询国家企业信用信息公示系统网站显示,3月20日,大连万达商管新增一则股权冻结信息,冻结股权数额约162亿,股权被执行的企业为大连新达盟,冻结期限自2024年3月20日至2027年3月19日。但几天之后,该等股权冻结于3月25日解除冻结。

进入5月,乐居财经获悉,大连万达商管所持新达盟162亿股权又再度被冻结。

目前,大连万裕企业管理有限公司、大连万达商管分别所持的大连新达盟100万股、1620566.6667万股均已被出质,且在有效状态,质权人均为上海浦东发展银行股份有限公司世博支行。

万达商管卖了总部,撤离北京

在王健林将万达集团总部所在地北京万达广场的全部股权转让之后,6月28日,据媒体报道,大连万达集团涉及商管业务的部门和人员将搬迁至珠海办公,按照目前的计划,预计搬迁至珠海工作的员工要在7月中旬左右到岗。

有员工表示,的确有此通知,但搬迁至珠海到底有哪些部门和人员还未得到最终确认,但万达集团的总部仍将继续留在北京,并不会迁至珠海。“现在都在降本增效,搬到珠海去的话可以节约不少运营成本,珠海的办公地点在ICC横琴国际商务中心。据我了解,已有一些员工表示愿意前往珠海工作。”上述人员表示,集团对于搬至珠海办公的员工也有一定的补贴,如每个月3000元的住房补贴,每年10天的探亲假。

今年4月9日,万达集团总部所在的北京万达广场实业有限公司的股权发生变动。北京万达广场实业有限公司持有北京万达广场B座和C座,而万达集团的总部就位于万达广场B座。

资料显示,该公司的原全资股东大连万达商业管理集团股份有限公司退出股东名单,新增股东坤华(天津)股权投资合伙企业(有限合伙)持股99.99%;坤元辰兴(厦门)投资管理咨询有限公司持股0.01%。而坤华(天津)股权投资合伙企业的合伙人为新华人寿保险股份有限公司和中金资本运营有限公司,二者分别持股99.9%和0.1%。

北京万达广场实业有限公司持有北京万达广场B座和C座,而万达集团的总部就位于万达广场B座。

此次万达集团欲搬迁至珠海办公的珠海万达商业管理集团股份有限公司是万达最核心的业务。该公司的注册地位于珠海市横琴新区,在此次搬迁之前,相关人员一直在北京办公。

业内人士表示,万达商管搬去珠海,一方面可能有对于珠海横琴优惠的税收和产业政策的考量。

综合体验型购物中心运营是明确写在横琴自贸区鼓励类产业名录里面的,享受15%企业所得税政策优惠,这对万达来说吸引力足够大。

另一方面,珠海各项成本相比北京会低很多,搬离北京,可以节约人力和总部运营成本。

万达总部所在地北京万达广场写字楼最低租金是240元/㎡·月,卖掉总部大楼后,如果继续在建国路附近租写字楼,租金成本会高很多。

而珠海横琴写字楼平均租金不足80元/㎡·月,搬至珠海,办公楼运营成本会低很多。据悉万达此次将搬至ICC横琴国际商务中心,预留8层来办公。

ICC横琴国际商务中心在网上有1套整层办公正在招租,挂牌租金约105元/㎡·月比万达北京租金成本低接近60%,加上面积收缩,能省下不少钱。

此外,珠海月平均工资水平(约9300元)比北京(约15701元)低很多,未来人力成本也可以逐步降低。

资料显示,珠海万达商管目前管理全国227个地级及以上城市的494个大型商业中心。在过去两年中,珠海万达商管管理的商业中心数量从417家增长到494家,平均年增长率为9%左右。以管理的商业面积计,珠海万达商管现为全球最大的商业管理公司。

请您先登陆,再发跟帖!